Recomendaciones de uso e instalación para tiras LED (24V)
NO doblar la tira, ya que podría dañar el conexionado. (1)
NO tocar ni ejercer presión sobre los LEDS durante la instalacilón. (2)

NO conecte directamente la tira de LED a la red eléctrica. Sólo debe conectarse a un controlador adecuado de 24V.

Evitar ubicar las tiras en zonas con temperatura elevada o luz directa del sol.
Se recomienda el uso de perfiles de aluminio para reducir la temperatura de trabajo. (Imprescindible para tiras de más de 5W/m).

Tenga en cuenta que los productos pueden dañarse por descarga electrostática (ESD). La puesta a tierra es una medida para evitar los efectos dañinos de la descarga electrostática. Por lo tanto, durante el montaje debe utilizarse un sistema de puesta a tierra de protección personal para evitar la acumulación de carga estática

Dependiendo de la superficie, utilice un limpiador multiuso (por ejemplo alcohol isopropílico) para proporcionar una superficie de montaje limpia y seca que esté libre de aceites, libre de recubrimientos y partículas de suciedad.

Si el producto necesita ser cortado a medida; por favor mida cuidadosamente y corte en ángulo recto las marcas de corte señaladas usando solamente unas tijeras afiladas.

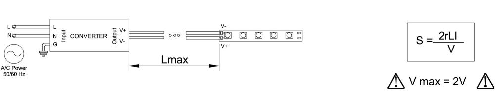
La máxima distancia posible del convertidor a las tiras vendrá dada por la sección del cable utilizado.
No se debe exceder la caída de tensión de 2V en el conductor entre la tira o tiras en el convertidor.
La sección (S) en mm2 del cable necesario viene determinado por la siguiente fórmula, siendo:
r la resistividad (Cu = 0,017)
L la longitud en metros de la línea
I la intensidad en Amperios
V la caída de tensión máxima admisible
Los convertidores deben contemplar las pérdidas en la distribución, es aconsejable sobredimensionar la potencia de éstos en un 20% para cubrir estas pérdidas.
